Recentemente, documentos de patente publicados pela Organização Mundial da Propriedade Intelectual trouxeram à tona uma proposta intrigante da Sony. A empresa patenteou um conceito chamado “Ghost Player” ou Jogador Fantasma, uma tecnologia que usaria inteligência artificial para permitir que os jogos do PlayStation se jogassem sozinhos, total ou parcialmente.
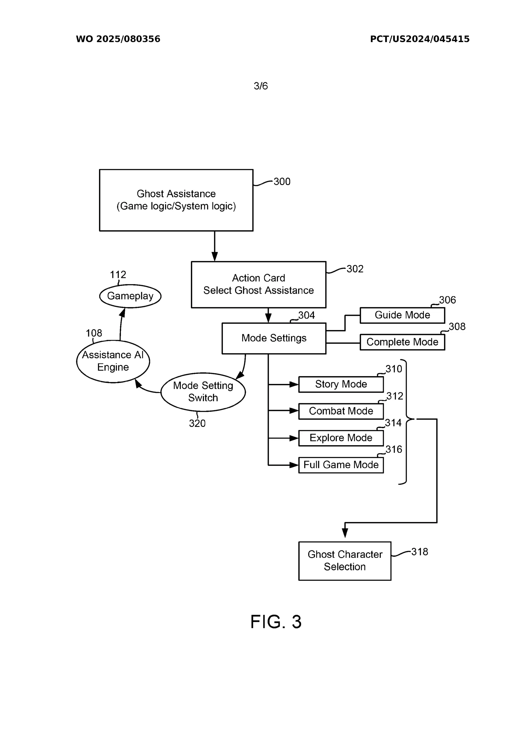
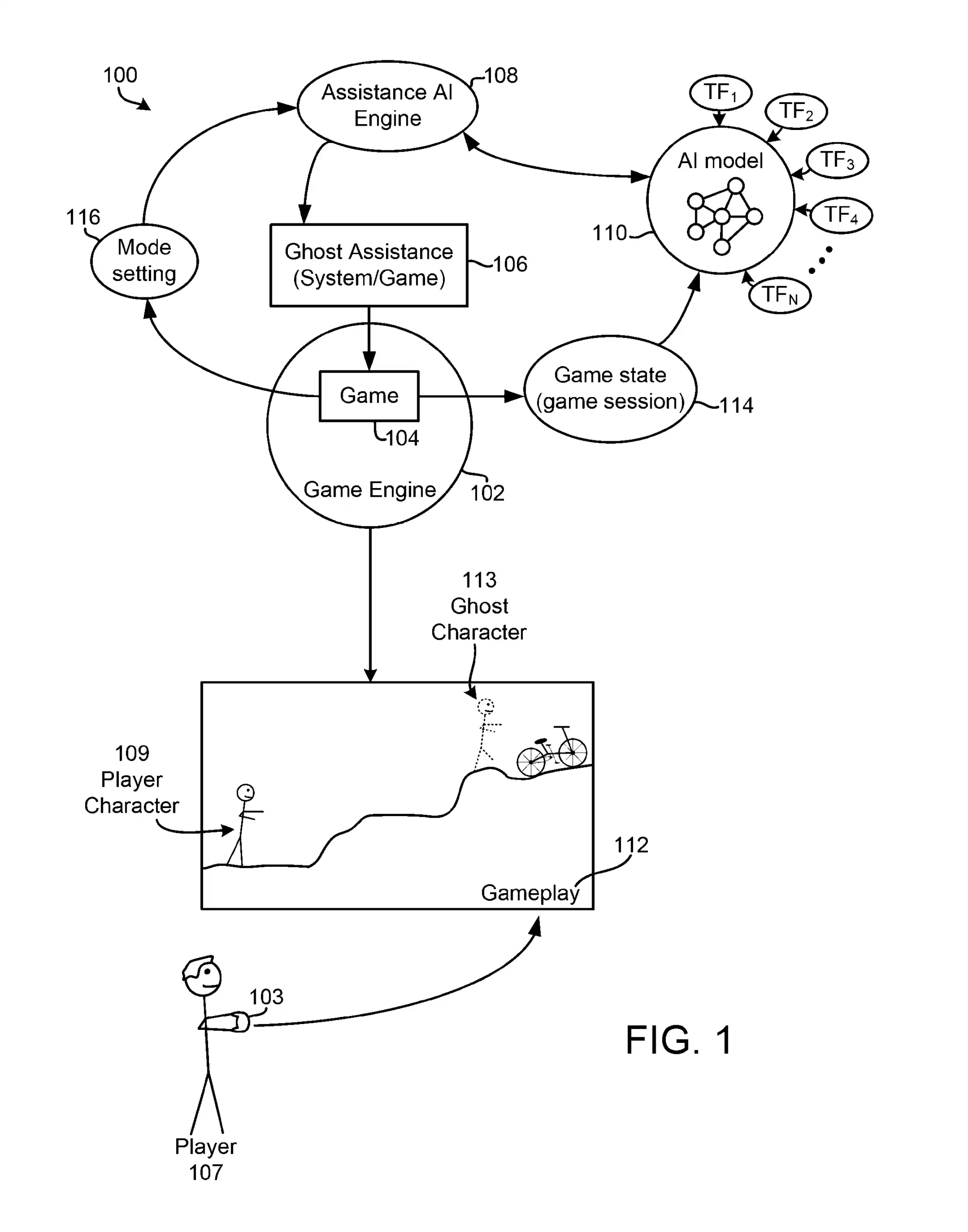
Embora o pedido original tenha sido feito em setembro de 2024, só agora os detalhes se tornaram públicos. A ideia central é que os jogadores possam invocar uma versão “fantasma” de seu personagem, controlada por IA. Este espectro digital teria duas funções principais: em um “Modo Guia”, ele demonstraria a solução de um obstáculo, como um quebra-cabeça travado em Uncharted; já no “Modo Completo”, ele simplesmente finalizaria a seção desafiadora pelo jogador.
A proposta surge em um momento em que a assistência ao jogador é um tema delicado. Mecanismos para pular desafios ou sistemas de dicas já são comuns, mas alguns títulos modernos da Sony, como God of War Ragnarok, foram criticados por oferecerem ajuda excessivamente rápida, com personagens dando a resposta dos quebra-cabeças quase instantaneamente. O Ghost Player parece levar essa lógica a um novo patamar, prometendo uma assistência mais dinâmica e integrada.
O diferencial, segundo a patente, está na base do sistema. A alegação é de que o modelo de IA seria treinado com imagens do próprio jogo, não sendo uma simples série de comandos pré-gravados pelos desenvolvedores. Isso sugere uma ferramenta potencialmente mais adaptável e contextual.
Esta inovação pode ser vista como uma evolução natural do sistema de Ajuda de Jogos do PS5, uma funcionalidade do console que fornece dicas e guias por meio de cartões. Embora não seja onipresente, esse sistema é valorizado por uma parcela dos fãs, especialmente caçadores de troféus, pela conveniência de não precisarem sair do jogo para consultar um guia externo.
É crucial, no entanto, temperar a expectativa. Não há qualquer evidência de que a Sony planeje implementar essa tecnologia em breve. Empresas do setor registram patentes constantemente, muitas das quais nunca saem do papel. Esta pode muito bem ser apenas uma exploração conceitual, uma reserva de ideia para um futuro distante.
O contexto maior é o de uma corrida por assistentes virtuais em todos os setores. A Microsoft, por exemplo, já apresentou seu “Copilot for Gaming”, um assistente de IA projetado para ser um companheiro pessoal nos jogos, capaz de responder perguntas e até retomar a experiência de um título de onde o jogador parou.
Assim, a patente do Ghost Player reflete menos um anúncio de produto e mais um sinal dos tempos: a indústria dos games está testando os limites de como a inteligência artificial pode, de formas ainda muito experimentais, redefinir a interação entre o jogador e o mundo virtual, seja guiando, seja substituindo momentaneamente a sua agência.


